寒冷的冬日已經過去,天氣漸暖,陽光灑下,鳥兒在歌唱,花兒歡笑,而像你這樣的孩子……差點跑題了,總而言之,春天已經來臨了。不管大家注意到了或者是沒有,道路兩旁的植物有些已經開始開花了,為整條路上增添了些許不一樣的顏色,擅長拍照的朋友興許已經開始考慮架起設備對著這些花兒了。不知道什麼時候開始,人們對季節的變化就沒有那麼敏感了,興許只是因為季節會帶給我們的最明顯的變化只有溫度和天氣了吧,不過春日的來臨為一草一木帶來的變化卻並沒有改變,它們才是最早感知到春日來臨的,春到校園草木知,正是這個意思。
#996.ICU#,推薦這個項目並不是說反對工作,但是要知道,工作,永遠不是生活的全部。
本周全球流行開源項目榜中榜
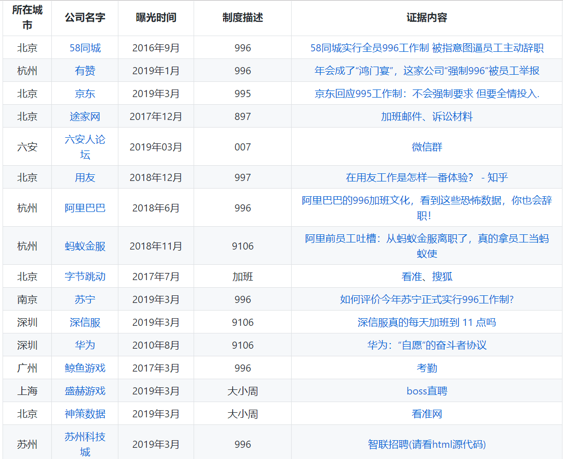
1.996.ICU
最近的一個星期,程序員在 github 發起抗議互聯網公司實行 996 工作制,引起巨大響應。打出」Work by 996,sick in ICU」 的口號,抵制抗議這種強制加班違反勞動法的工作制度,要求僱主尊重僱員的合法權益。這並不是一場政治運動,而是一項倡議,歡迎一切積極的建設性的討論和建議,創造一個主張保護勞動者權益的開源軟體許可證。從閉源到開源是一次偉大的進步,從開源到同時強調保護勞工權益也將是一次偉大的進步。有人評論道,這是第三次科技革命產生的碎片化的無產階級的階級意識的覺醒。讓 996 這個價值觀遠離我們的群體,知道狗命比錢重要的時候,才能真正實現我們的目標。
項目有計劃的採取了一些行動。除向世界的從業者宣傳外,項目還發布了舉報 996 公司的功能。同時,也可以點贊鼓勵 955 的公司。做出兩份表單給未來的從業者們參考。反 996 許可證版本 1.0 已發布,呼籲大家添加到自己的開源庫中。


2.mathematics_dataset
mathematics_dataset 由英國技術團隊 Deep Mind 開發,旨在測試學習模型的數學學習和代數推理技巧。首發版本隨著論文 ( Analysing Mathematical Reasoning Abilities of Neural Models) 一同釋出,每個模型都包含著 200 萬對問題解答數據對,並且訓練集中的數據對由難度被分成了三個級別,而混和難度的數據集的訓練成果則可見上述論文,讀者也可下載文件並透過 generate 指令生成例子。
3.sonic
sonic 是一個快速,輕量級,並且無構架的搜索後端。它提取搜索文本和標識符元組,並且可以在幾微秒的時間內查看它們。在某些應用場景下,Sonic 可以用於簡單地替代超重量級,全功能的搜索後端。他能夠規範化自然語言搜索查詢,自動補全搜索查詢,以及提供相關度最高的查詢結果。Sonic 是標識符索引,而不是文件索引:在查詢過程中,它返回指向外部資料庫中相匹配文件的ID。
在設計 sonic 的過程中,設計者十分關注 sonic 的性能和代碼的整潔性,這是為了使 sonic 能夠快速且穩定地運行,並且佔用盡量少的伺服器資源。

4.Kapitan
Kapitan 是一款用 jsonnet,kadet(alpha) 來管理複雜部署的工具。
使用它來管理您的 Kubernetes 清單,文檔,Terraform 配置,甚至用來簡化您的腳本 !
主要特點:
- 使用 Inventory 作為單一事實來源,將部署,資源和文檔結合在一起。基於重新分類
- 使用 Jsonnet 或 Kadet(alpha)創建基於 json / yaml 的配置(例如 Kubernetes,Terraform);
- 使用 Jinja2 為腳本和文檔創建基於文本的模板;
- 使用 GPG 或 gCloud KMS 管理機密,並定義誰可以訪問它們,而不會影響與其他用戶的協作。
- 一次創建有關單個部署(即 ad-hoc 指令)或所有部署的動態生成文檔(即全局部署狀態)

5.DeepLearning-500-questions
這裡有關於深度學習的500個題目。通過問答的形式對常用的概率知識、線性代數、機器學習、深度學習、計算機視覺等熱點問題進行闡述,以幫助自己及有需要的讀者。這裡有它的一些簡要目錄,如果感興趣的話可以學習看看:
- 第一章 數學基礎
- 第二章 機器學習基礎
- 第八章 圖像分割
- 第十三章 優化演算法
6.citybound
Citybound 是一款獨立開發的、開源的城市建設遊戲,專註於現實主義,協作規劃和微觀細節模擬。它的開發仍然處於繼續進行階段,歡迎各個開發者一起參與討論。它能夠從簡單的微觀交互中產生複雜的行為,是一個受到許多貢獻者關注的項目。

7.nps
nps 是一款輕量級、高性能、功能強大的內網穿透代理伺服器,如果你想在外網通過 ssh 連接內網的機器;在非內網環境下使用內網 dns;在外網使用 HTTP 代理訪問內網站點;或是在外網中如同使用內網 vpn 一樣訪問內網資源或者設備,那麼,nps 一定會是你的得力幫手。nps 目前支持 tcp、udp 流量轉發,內網 http 代理、內網 socks5 代理等功能,並帶有美觀且強大的 web 管理端

8.Editor.js
Editor.js 是專註與文本編輯的一個 Block-Styled 編輯器。Editor.js 能保證你在設計文本樣式的整潔輕巧,同時也提供了例如段落,標題,圖像,列表,引用等類別進行相關操作。同時還具有基於這些類設計的簡易 API。同時在 Editor.js 還支持一些常用的快捷鍵,讓你在設計網頁的時候能更加事半功倍。
Editor.js 能夠直接輸出 JSON 對象與每個塊的數據,而不是生成 html 進行顯示,這使得它所產生的數據更直接乾淨。同時,這些數據你可以自由選擇對應的需求進行操作。
在最近的幾次更新中,Editor.js 優化了對一些瀏覽器的支持。同時對文本變換的樣式也創造了類。
你可以在 https://editorjs.io/ 進行體驗。

9.NativeScript
NativeScript 是一個使用 JavaScript 和 CSS 構建原生 iOS 和 Android 應用程序的框架。NativeScript 使用本機平台的呈現引擎呈現 UI,而不使用 WebView,從而產生類似本機的性能和 UX。
NativeScript 提供了兩全其美的開發體驗,跨平台 JavaScript 模塊提供了從單個 JavaScript 代碼庫編寫 iOS 和 Android 應用程序的便利,運行時能夠在需要時訪問本機 API,SDK 和框架,而無需打開 Xcode 或 Android Studio。NativeScript 已創建並受 Telerik 支持。

10.the-craft-of-selfteaching
這是一本自學之書。在現在這個時代自學變得越來越重要,而這個項目就是通過編程這個人人都能學會的技能來說明一些自學之路上用得上的技能——它們不會僅在編程上發揮作用的,畢竟,在離開學校之後,大部分時候學習技能都會以自學為主。
